
Material Code Calibration Technique
Product Description
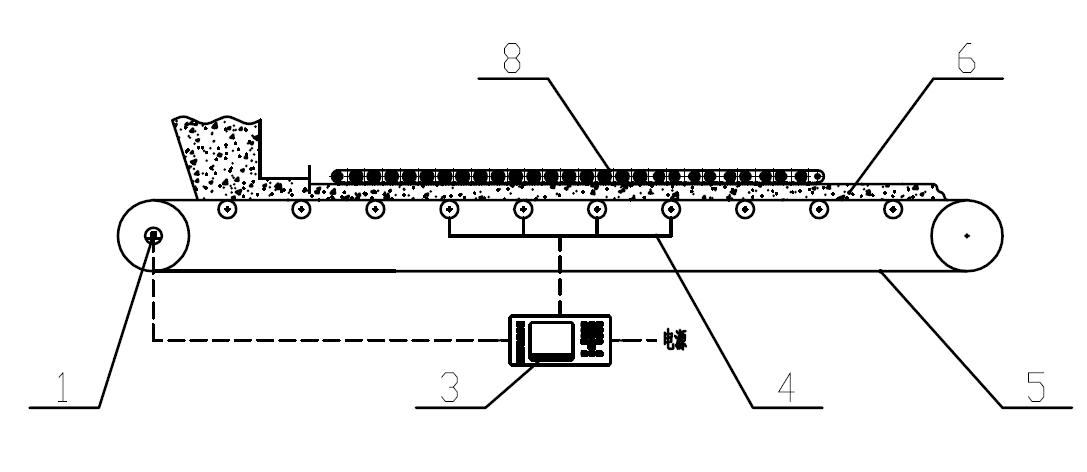
The use of hanging code, chain code, circular chain code superposition of materials can compensate for the belt tension and belt hardness on weighing accuracy, improve accuracy.


Features
Applications
Technical Specifications










